量具-90°角尺標準
本文導讀:90°角尺,,(摘自GB/T6092—1985)
90°角尺 (摘自GB/T6092—1985)
![]() |
![]() |
![]() |
|
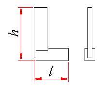
矩形角尺 |
三角形角尺 |
寬座角尺 |
|
名稱 |
精度等級 |
尺寸/mm |
||||||||
|
矩形角尺 |
00級 0級 1級 |
h |
125 |
200 |
315 |
500 |
800 |
|||
|
l |
80 |
125 |
200 |
315 |
500 |
|||||
|
寬座角尺 |
0級 1級 2級 |
h |
63 |
125 |
200 |
315 |
500 |
800 |
1250 |
1600 |
|
l |
40 |
80 |
125 |
200 |
315 |
500 |
800 |
1000 |
||
|
三角形角尺 |
00級 0級 |
h |
125 |
200 |
315 |
500 |
800 |
1250 |
||
|
l |
80 |
125 |
200 |
315 |
500 |
800 |
||||










